NXP’s latest Generation of LCD Drivers is specifically designed for – but not limited to – driving very high-contrast, true black background Vertical Alignment Displays featuring an extremely wide viewing angle.
Overview
NXP’s latest Generation of LCD Drivers are specifically designed for – but not limited to – driving vertical alignment (VA) displays that feature higher contrast, wider viewing angle, real black background and superior image quality. They are available as either cased products for surface mount application, or as uncased products for direct chip-on-glass (COG) application. Highly integrated, the ICs offer very reliable and cost-effective solutions that ease design and - when mounted on glass - save additional board space.
They are ideal for a host of automotive, industrial, white goods, and medical displays and are widely used in banking, retail and signage applications. Their optimized drive schemes offer higher VLCD voltage, and programmable and calibrated frame frequencies, making them ideal for interfacing to VA displays.
They are available as Segment Drivers, Dot-Matrix Drivers or Character Drivers.
Key Applications
- Automotive
- instrument clusters, car radios, climate control units, tachographs
- White goods
- washing machines, dryers, microwave ovens
- Industrial
- electricity meters, water meters, gas meters
- Medical
- glucose meters, blood pressure meters
- Banking
- Retail
- Shelf labels
- Point of Sales Terminals
- Signage
Key Benefits
- Support a wide range of display resolutions
- segmented displays: from 4x32, 4x40, 4x60, 4x80, 4x160, 8x40, 8x60 up to 9x102 backplanes x segments)
- dot-matrix displays: from 18 x 100 up to 80 x 128 (rows x columns)
- character displays: from 2 lines by 12 up to 2 lines by 20 characters
- Specifically designed to interface to vertical alignment (VA) displays offering superior optical performance
- None or only very few additional external components required, saving board space and cost
- Can be cascaded for larger applications (selected devices)
- Optimized for high drive strength – can drive up to 7-inch display (selected devices)
- Single chip LCD driver with integrated PWM LED controller saves board space and cost (selected devices)
- Automotive AEC-Q100 compliant qualification for highest reliability and robustness (selected devices)
- Available in TQFP, LQFP and TSSOP packages, or as die with gold bumps for COG application
Key Features
- Wide LCD supply voltage range, from 2.5 V up to 6.5V / 8.0V / 9.0V / 12.0V / 16.0V
- Wide frame Frequency range, from 32Hz up to 360Hz
- Extended operating temperature range up to 105 C
- On-chip LCD bias voltage generator
- On-chip charge pump (selected devices)
- On-chip temperature sensor (selected devices)
- On-chip oscillator for frame frequency generation
- Low power
- AEC-Q100 compliant automotive qualification (selected devices)
| |
Part Number |
Description |
|
 |
PCF8536 |
40 x 8 LCD segment driver including a 6 channel PWM generator |
 |
 |
PCA8536 |
40 x 8 LCD segment driver including a 6 channel PWM generator |
 |
 |
PCF8537 |
44 x 8 LCD segment driver industrial LCD driver for multiplex rates up to 1:8 |
 |
 |
PCA8537 |
44 x 8 LCD segment driver automotive LCD driver for multiplex rates up to 1:8 |
 |
 |
PCA9620 |
60 x 8 LCD high-drive segment driver for automotive and industrial |
 |
 |
PCF8545 |
40 x 8 LCD segment driver universal LCD driver for multiplex rates up to 1:8 |
 |
 |
PCA8546 |
4 x 44 automotive LCD driver |
 |
 |
PCA8547 |
44 x 4 LCD segment driver with on-chip charge pump and on-chip temperature sensor |
 |
 |
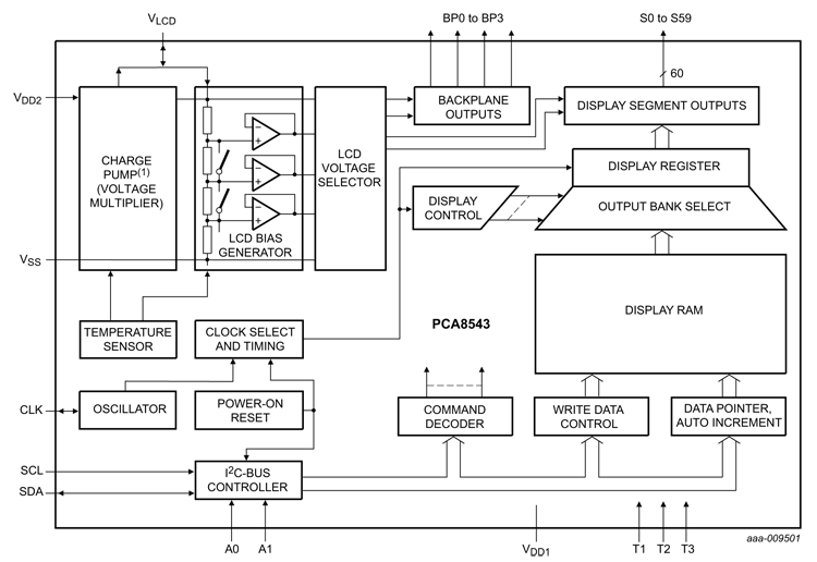
PCA8543 |
60 x 4 LCD segment driver with on-chip charge pump and on-chip temperature sensor |
 |
 |
PCA85262 |
32x 4 LCD segment driver with 200Hz frame frequency |
 |
 |
PCA85276 |
40x 4 LCD segment driver with 200Hz frame frequency |
 |
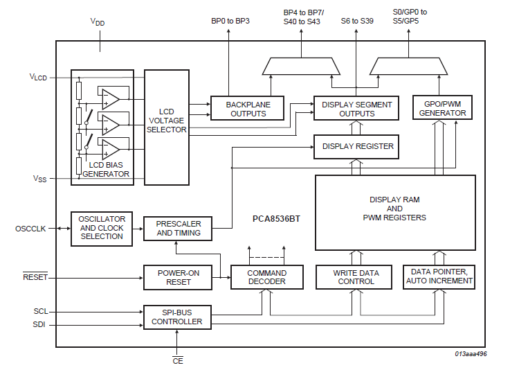
PCF8536 & PCA8536: 40 x 8 LCD segment driver including a 6 channel PWM generator
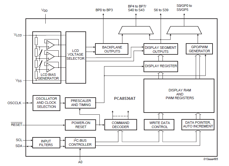
The PCF8536 (non-automotive grade) and PCA8536 (automotive grade) are peripheral devices which interfaces to almost any Liquid Crystal Display (LCD) with low multiplex rates. These drivers generate the drive signals for any multiplexed LCD containing up to eight backplanes, up to 44 segments, and up to 320 elements. These devices are compatible with most microcontrollers and communicates via the two-line bidirectional I²C-bus (PCx8536AT) or a three line unidirectional SPI-bus (PCx8536BT). Communication overheads are minimized using a display RAM with auto-incremented addressing.
The PCF8536 and PCA8536 feature an on-chip PWM controller for LED illumination. Up to six independent channels can be configured. Each channel has 128 levels allowing the possibility for two RGB controllers. Each of them provides over 2 million colors. Each channel can also be used for static drive.
Features and benefits
- AEC Q100 compliant for automotive applications (PCA8536)
- Extended operating temperature range from -40 °C to +95 °C (PCA8536)
- Single-chip 320 segment LCD controller and driver with 6 channel PWM generator
- 6 channel PWM generator for backlight LED illumination
- Selectable display bias configuration
- Wide range for digital power supply: from 1.8 V to 5.5 V
- Wide LCD supply range: from 2.5 V for low threshold LCDs and up to 9.0 V for high threshold twisted nematic LCDs
- Low power consumption
- Selectable backplane drive configuration: 4, 6, or 8 backplane multiplexing
- LCD and logic supplies may be separated
- 320-bit RAM for display data storage
- 6 PWM outputs with a 7-bit resolution (128 steps) and drivers for external transistors
- Programmable PWM frame frequency to avoid LCD backlight flickering
- Extended temperature range up to 95 °C
- 400 kHz I²C-bus interface
- 5 MHz SPI-bus interface
- Programmable frame frequency in the range of 60 Hz to 300 Hz in steps of approximately 10 Hz; factory calibrated
- 320 segments driven allowing:
- up to 40 7-segment alphanumeric characters
- up to 20 14-segment alphanumeric characters
- any graphics of up to 320 elements
- Manufactured in silicon gate CMOS process
Applications
- White goods and consumer products
- Automotives
- Car Radio
- Climate Control
- Dash board display
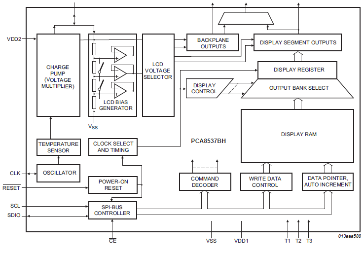
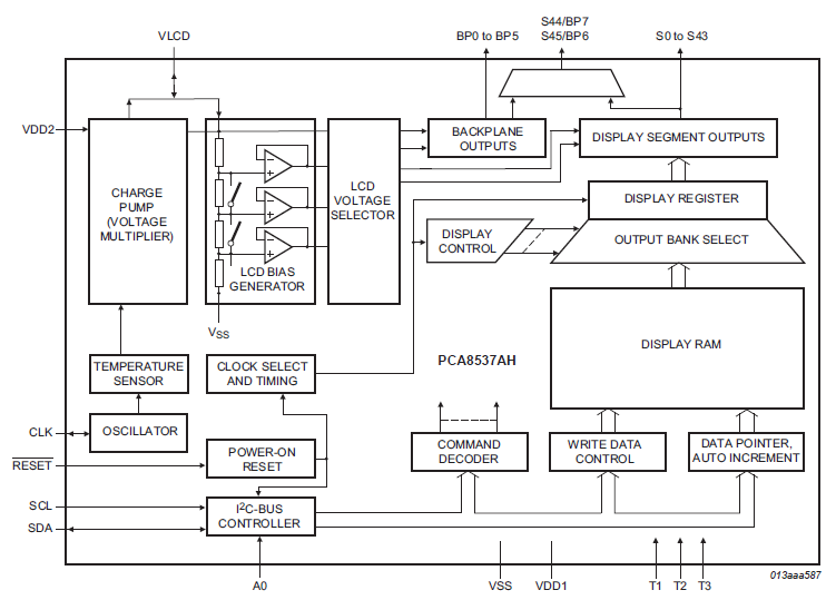
PCF8537 & PCA8537: 44 x 8 LCD segment driver with on-chip charge pump and on-chip temperature sensor
The PCF8537 (non-automotive grade) and PCA8537 (automotive grade) are fully featured Liquid Crystal Display (LCD) driver, specifically designed for high-contrast Vertical Alignment (VA) LCD with multiplex rates up to 1:8. These drivers generate the drive signals for any static or multiplexed LCD containing up to eight backplanes, 46 segments, and up to 352 elements. Both ICs feature an internal charge pump with internal capacitors for on-chip generation of the LCD driving voltage. To ensure an optimal and stable contrast over the full temperature range, these devices offer a programmable temperature compensation of the LCD supply voltage. The PCF8537 and PCA8537 can be easily connected to a microcontroller by either the two-line I²C-bus (PCx8537AH) or a three-line bidirectional SPI-bus (PCx8537BH).
Features and benefits
- AEC Q100 compliant for automotive applications (PCA8537)
- Extended operating temperature range from -40 °C to +95 °C (PCA8537)
- Low-power single-chip LCD controller and driver
- 352 elements allowing to drive:
- up to 44 7-segment alphanumeric characters
- up to 22 14-segment alphanumeric characters
- Selectable backplane drive configuration: static, 2, 4, 6, or 8 backplane multiplexing
- Software programmable internal charge pump for on-chip LCD voltage generation up to 9 V with internal capacitors
- 400 kHz I²C-bus interface (PCF8537AH)
- 5 MHz SPI-bus interface (PCF8537BH)
- Programmable temperature compensation of VLCD in four regions
- Selectable display bias configuration
- Wide range for digital power supply: from 1.8 V to 5.5 V
- Wide LCD supply range: from 2.5 V for low threshold LCDs and up to 9.0 V for high threshold twisted nematic LCDs
- Display memory bank switching in static, duplex, and quadruplex drive modes
- 352-bit RAM for display data storage
- Programmable frame frequency in the range of 60 Hz to 300 Hz in steps of 10 Hz; factory calibrated
- Integrated temperature sensor with temperature readout
- On chip calibration of internal oscillator frequency and VLCD
- Manufactured in silicon gate CMOS process
Applications
- Industrial and Consumer
- White goods
- Handheld electronics
- Battery operated equipment
- Machine control systems
- Measuring equipment
- Information boards
- Panels
- Consumer
- Industrial
- Medical and health care
- Automotive
- Instrument cluster
- Car radio
- Climate control untions
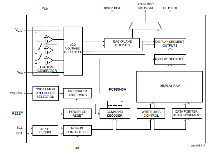
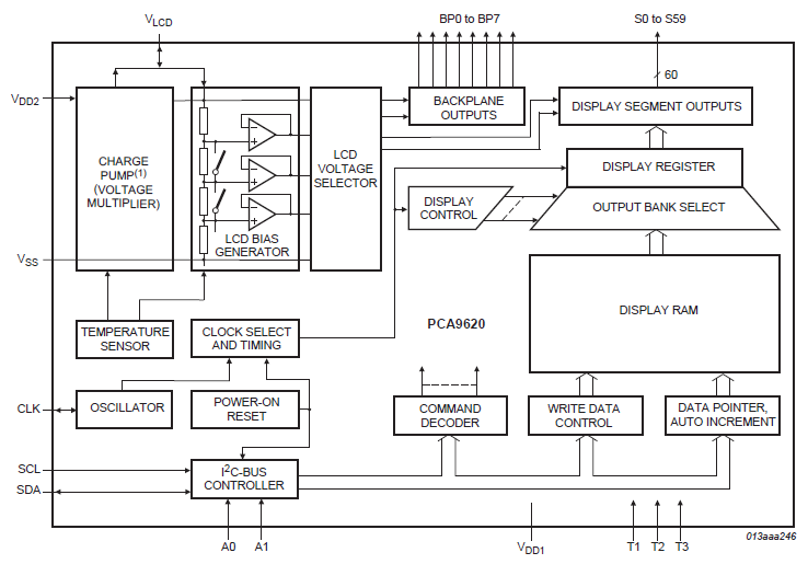
PCA9620: 60 x 8 LCD segment driver with on-chip charge pump and on-chip temperature sensor
The PCA9620 is a peripheral device which interfaces to almost any Liquid Crystal Display (LCD) with low multiplex rates. It generates the drive signals for any static or multiplexed LCD containing up to eight backplanes, 60 segments, and up to 480 elements. The PCA9620 is compatible with most microprocessors or microcontrollers and communicates via a two-line bidirectional I²C-bus. Communication overheads are minimized using a display RAM with auto-incremented addressing and display memory switching. The PCA9620 features an internal charge pump with internal capacitors for on-chip generation of the LCD driving voltages.
Features and benefits
- AEC Q100 grade 2 compliant for automotive applications
- Low power consumption
- Extended operating temperature range from -40 °C to +105 °C
- 60 segments and 8 backplanes allowing to drive:
- up to 60 7-segment alphanumeric characters
- up to 30 14-segment alphanumeric characters
- any graphics of up to 480 elements
- 480-bit RAM for display data storage
- Selectable backplane drive configuration: static, 2, 4, 6, or 8 backplane multiplexing
- Programmable internal charge pump for on-chip LCD voltage generation up to 3 × VDD2
- 400 kHz I²C-bus interface
- Selectable linear temperature compensation of VLCD
- Selectable display bias configuration
- ide range for digital and analog power supply: from 2.5 V to 5.5 V
- Wide LCD supply range: from 2.5 V for low threshold LCDs and up to 9.0 V for high threshold (automobile) twisted nematic LCDs
- Display memory bank switching in static, duplex, and quadruplex drive modes
- Programmable frame frequency in steps of 10 Hz in the range of 60 Hz to 300 Hz; factory calibrated with a tolerance of ±15 % covering the whole temperature and voltage range
- Selectable inversion scheme for LCD driving waveforms: frame or line inversion
- Integrated temperature sensor with temperature readout
- On chip calibration of internal oscillator frequency and VLCD
Applications
- Automotive
- Instrument cluster
- Car radio
- Climate control units
- Industrial
- Machine control systems
- Measuring equipment
- Signage
- Information boards
- Panels
PCF8545: 40 x 8 LCD segment driver
The PCF8545 is a peripheral device which interfaces to almost any Liquid Crystal Display (LCD) with low multiplex rates. This driver generates the drive signals for any multiplexed LCD containing up to eight backplanes, up to 40 segments, and up to 320 elements. The PCF8545 is compatible with most microcontrollers and communicates via the two-line bidirectional I²C-bus (PCF8545ATT) or a three line unidirectional SPI-bus (PCF8545BTT). Communication overheads are minimized using a display RAM with auto-incremented addressing.
The PCF8545 is thanks to its capability to drive up to 320 display elements specifically well suited for three phase e-meter and data concentrator applications where a large number of display elements (generally > 240) are required.
Features and benefits
- Single-chip 320 elements LCD controller and driver
- Selectable display bias configuration
- Wide range for digital power supply: from 1.8 V to 5.5 V
- LCD supply voltage range: from 2.5 V to 5.5 V
- Low power consumption
- Selectable backplane drive configuration: 4, 6, or 8 backplane multiplexing
- LCD and logic supplies may be separated
- 320-bit RAM for display data storage
- Industrial temperature range -40 °C to +85 °C
- 400 kHz I²C-bus interface (PCF8545ATT)
- 5 MHz SPI-bus interface (PCF8545BTT)
- Programmable frame frequency in the range of 60 Hz to 300 Hz in steps of approximately 10 Hz; factory calibrated
- 320 segments driven allowing:
- up to 40 7-segment alphanumeric characters
- up to 20 14-segment alphanumeric characters
- any graphics of up to 320 elements
- Manufactured in silicon gate CMOS process
Applications
- Industrial
- Three pahse e-meter
- Data concentrator
- White goods
- Washing machines
- Dish Washer
- Dryer
- Consumer products
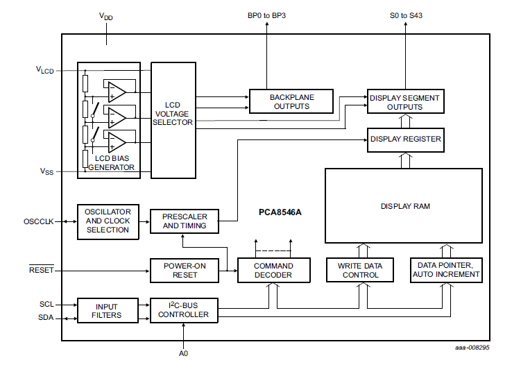
PCA8546: Automotive 44 x 4 LCD segment driver
The PCA8546 is a peripheral device which interfaces to almost any Liquid Crystal Display (LCD) with low multiplex rates. This driver generates the drive signals for any multiplexed LCD containing up to four backplanes, up to 44 segments, and up to 176 elements. This device is compatible with most microcontrollers and communicates via the two-line bidirectional I²C-bus (PCA8546ATT) or a three line unidirectional SPI-bus (PCA8546BTT). Communication overheads are minimized using a display RAM with auto-incremented addressing.
The PCA8546 is specifically designed for – but not limited to – driving vertical alignment (VA) displays that feature higher contrast, wider viewing angle, real black background and superior image quality. Moreover this device features an extended operating temperature range up to +95˚C which in combination with its AEC-Q100 compliant automotive qualification makes the PCA8546 ideally suited for operation in harsh conditions such as automotive, industrial or white goods. Last but not least with its programmable and calibrated frame frequency, the PCA8546 can be considered as an ideal upgrade to the well-known PCA85176 family of LCD drivers.
Features and benefits
- AEC Q100 compliant for automotive applications
- Extended operating temperature range from -40 °C to +95 °C
- Single-chip 176 segment LCD controller and driver
- Selectable display bias configuration
- Wide range for digital power supply: from 1.8 V to 5.5 V
- Wide LCD supply range: from 2.5 V for low threshold LCDs and up to 9.0 V for high threshold twisted nematic LCDs
- Low power consumption
- LCD and logic supplies may be separated
- Extended temperature range up to 95 °C
- 400 kHz I²C-bus interface (PCA8546ATT)
- 5 MHz SPI-bus interface (PCA8546BTT)
- Programmable frame frequency in the range of 60 Hz to 300 Hz in steps of approximately 10 Hz; factory calibrated
- 176 segments driven allowing:
- up to 22 7-segment alphanumeric characters
- up to 11 14-segment alphanumeric characters
- any graphics of up to 176 elements
- Manufactured in silicon gate CMOS process
Applications
- Automotives
- Car Radio
- Climate Control
- Dash board display
- Industrial and white goods
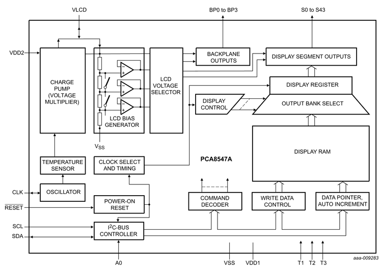
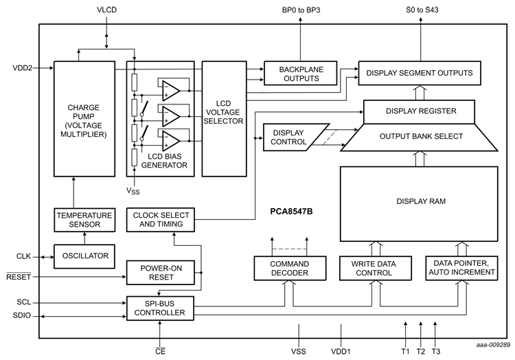
PCA8547: Automotive 44 x 4 LCD segment driver with on-chip charge pump and on-chip temperature sensor
The PCA8547 is a fully featured AEC-Q100 compliant Liquid Crystal Display (LCD) driver, specifically designed for high-contrast Vertical Alignment (VA) LCD with multiplex rates up to 1:4. This driver generates the drive signals for any static or multiplexed LCD containing up to four backplanes, 44 segments, and up to 176 elements. This device features an internal charge pump with internal capacitors for on-chip generation of the LCD driving voltage. To ensure an optimal and stable contrast over the full temperature range, this device offers a programmable temperature compensation of the LCD supply voltage. The PCA8547 can be easily connected to a microcontroller by either the two-line I²C-bus (PCA8547AH) or a three-line bidirectional SPI-bus (PCA8547BH).
Features and benefits
- AEC Q100 compliant for automotive applications
- Extended operating temperature range from -40 °C to +95 °C
- Low-power single-chip LCD controller and driver
- 176 elements allowing to drive:
- up to 22 7-segment alphanumeric characters
- up to 11 14-segment alphanumeric characters
- Selectable backplane drive configuration: static, 2, or 4 backplane multiplexing
- Software programmable internal charge pump for on-chip LCD voltage generation up to 9 V with internal capacitors
- 400 kHz I²C-bus interface (PCA8547AH)
- 5 MHz SPI-bus interface (PCA8547BH)
- Programmable temperature compensation of VLCD in four regions
- Selectable display bias configuration
- Wide range for digital power supply: from 1.8 V to 5.5 V
- Wide LCD supply range: from 2.5 V for low threshold LCDs and up to 9.0 V for high threshold twisted nematic LCDs
- Display memory bank switching in static, duplex, and quadruplex drive modes
- 176-bit RAM for display data storage
- Programmable frame frequency in the range of 60 Hz to 300 Hz in steps of 10 Hz; factory calibrated
- Integrated temperature sensor with temperature readout
- On chip calibration of internal oscillator frequency and VLCD
- Manufactured in silicon gate CMOS process
Applications
- Automotives
- Instrument cluster
- Car radio
- Climate control units
- Industrial and consumer
- White goods
- Handheld electronics
- Battery operated equipment
- Machine control systems
- Measuring equipment
- Information boards
- Panels
- Medical and health care
PCA8543: Automotive 60 x 4 LCD segment driver with on-chip charge pump and on-chip temperature sensor
The PCA8543 is a fully featured AEC-Q100 compliant Liquid Crystal Display (LCD) driver, specifically designed for high-contrast Vertical Alignment (VA) LCD with multiplex rates up to 1:4. This driver generates the drive signals for any static or multiplexed LCD containing up to four backplanes, 60 segments, and up to 240 elements. This device features an internal charge pump with internal capacitors for on-chip generation of the LCD driving voltage. To ensure an optimal and stable contrast over the full temperature range, this device offers a programmable temperature compensation of the LCD supply voltage. The PCA8543 can be easily connected to a microcontroller by a two-line I²C-bus.
Features and benefits
- AEC Q100 grade 2 compliant for automotive applications
- Low power consumption
- Extended operating temperature range from -40 °C to +105 °C
- 60 segments and 4 backplanes allowing to drive:
- up to 30 7-segment alphanumeric characters
- up to 15 14-segment alphanumeric characters
- any graphics of up to 240 elements
- 240-bit RAM for display data storage
- Selectable backplane drive configuration: static, 2, or 4 backplane multiplexing
- Programmable internal charge pump for on-chip LCD voltage generation up to 3 × VDD2
- 400 kHz I²C-bus interface
- Selectable linear temperature compensation of VLCD
- Selectable display bias configuration
- Wide range for digital and analog power supply: from 2.5 V to 5.5 V
- Wide LCD supply range: from 2.5 V for low threshold LCDs and up to 9.0 V for high threshold (automobile) twisted nematic LCDs
- Display memory bank switching in static, duplex, and quadruplex drive modes
- Programmable frame frequency in steps of 10 Hz in the range of 60 Hz to 300 Hz; factory calibrated with a tolerance of ±15 % covering the whole temperature and voltage range
- Selectable inversion scheme for LCD driving waveforms: frame or line inversion
- Integrated temperature sensor with temperature readout
- On chip calibration of internal oscillator frequency and VLCD
Applications
- Automotive
- Instrument cluster
- Car radio
- Climate control units
- Industrial
- Machine control systems
- Measuring equipment
- Signage
- Information boards
- Panels
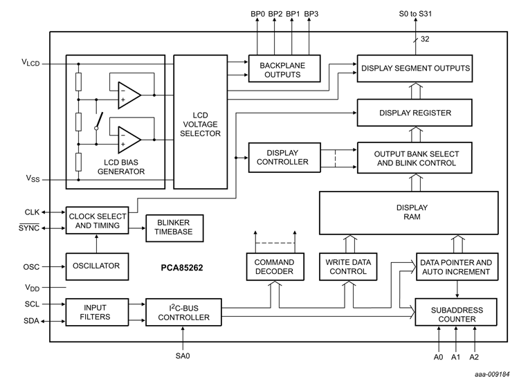
PCA85262: 32 x 4 LCD segment driver with 200Hz frame frequency
The PCA85262 is a peripheral device which interfaces to almost any Liquid Crystal Display (LCD) with low multiplex rates. It generates the drive signals for any static or multiplexed LCD containing up to four backplanes, 32 segments, and up to 128 elements. The PCA85262 is compatible with most microprocessors or microcontrollers and communicates via a two-line bidirectional I²C-bus. Communication overheads are minimized using a display RAM with auto-incremented addressing and display memory switching.
The PCA85262 features an increased frame frequency of 200Hz which makes this device particularly well suited to drive vertical alignment (VA) displays that feature higher contrast, wider viewing angle, real black background and superior image quality. Moreover this device features an extended operating temperature range up to +105˚C which in combination with its AEC-Q100 compliant automotive qualification makes the PCA85262 ideally suited for operation in harsh conditions such as automotive, industrial or white goods.
Features and benefits
- AEC Q100 grade 2 compliant for automotive applications
- Low power consumption
- Extended operating temperature range from -40 °C to +105 °C
- Increased frame frequency to 200Hz (typ.) for interfacing to high-performance Vertical Alignment (VA) displays
- 32 segments and 4 backplanes allowing to drive:
- up to 16 7-segment alphanumeric characters
- up to 8 14-segment alphanumeric characters
- any graphics of up to 128 elements
- 128-bit RAM for display data storage
- Selectable backplane drive configuration: static, 2, 3, or 4 backplane multiplexing
- Internal LCD bias generation with voltage-follower buffers
- Display memory bank switching in static and duplex drive modes
- Versatile blinking modes
- Independent supplies possible for LCD and logic voltages
- Wide power supply range: from 1.8 V to 5.5 V
- Wide logic LCD supply range:
- From 2.5 V for low-threshold LCDs
- Up to 8.0 V for guest-host LCDs and high-threshold twisted nematic LCDs
- 400 kHz I2C-bus interface
- No external components required
Applications
- Automotive
- Instrument cluster
- Car radio
- Climate control units
- Industrial
- Machine control systems
- Measuring equipment
- Signage
- Information boards
- Panels
PCA85276: 40 x 4 LCD segment driver with 200Hz frame frequency
The PCA85276 is a peripheral device which interfaces to almost any Liquid Crystal Display (LCD) with low multiplex rates. It generates the drive signals for any static or multiplexed LCD containing up to four backplanes, 40 segments, and up to 160 elements. The PCA85276 is compatible with most microprocessors or microcontrollers and communicates via a two-line bidirectional I²C-bus. Communication overheads are minimized using a display RAM with auto-incremented addressing and display memory switching.
The PCA85276 features an increased frame frequency of 200Hz which makes this device particularly well suited to drive vertical alignment (VA) displays that feature higher contrast, wider viewing angle, real black background and superior image quality. Moreover this device features an extended operating temperature range up to +105˚C which in combination with its AEC-Q100 compliant automotive qualification makes the PCA85276 ideally suited for operation in harsh conditions such as automotive, industrial or white goods.
Features and benefits
- AEC Q100 grade 2 compliant for automotive applications
- Low power consumption
- Extended operating temperature range from -40 °C to +105 °C
- Increased frame frequency to 200Hz (typ.) for interfacing to high-performance Vertical Alignment (VA) displays
- 40 segments and 4 backplanes allowing to drive:
- up to 20 7-segment alphanumeric characters
- up to 10 14-segment alphanumeric characters
- any graphics of up to 160 elements
- 160-bit RAM for display data storage
- Selectable backplane drive configuration: static, 2, 3, or 4 backplane multiplexing
- Internal LCD bias generation with voltage-follower buffers
- Display memory bank switching in static and duplex drive modes
- Versatile blinking modes
- Independent supplies possible for LCD and logic voltages
- Wide power supply range: from 1.8 V to 5.5 V
- Wide logic LCD supply range:
- From 2.5 V for low-threshold LCDs
- Up to 8.0 V for guest-host LCDs and high-threshold twisted nematic LCDs
- 400 kHz I2C-bus interface
- No external components required
Applications
- Automotive
- Instrument cluster
- Car radio
- Climate control units
- Industrial
- Machine control systems
- Measuring equipment
- Signage
- Information boards
- Panels
|
Demo Boards
User Guides
Applications Notes
Leaflets
Video
|